Flange 4 inch dimensions
Flange 4 inch dimensions
Trong thế giới công nghiệp hiện đại, mặt bích đóng một vai trò quan trọng trong việc kết nối các hệ thống ống dẫn và thiết bị. Đặc biệt, mặt bích 4 inch là một trong những loại phổ biến nhất, được sử dụng rộng rãi trong nhiều ứng dụng khác nhau. Bài viết này sẽ giúp bạn hiểu rõ hơn về flange 4 inch dimensions - kích thước mặt bích 4 inch, từ định nghĩa, vai trò, đến các chi tiết kỹ thuật và quy trình lắp đặt. Hãy cùng khám phá để nắm bắt được thông tin chi tiết và hữu ích nhất về mặt bích 4 inch.
Giới thiệu về mặt bích 4 inch
Định nghĩa và vai trò của mặt bích
Mặt bích là một bộ phận quan trọng trong hệ thống ống dẫn, có chức năng chính là kết nối các đoạn ống với nhau hoặc kết nối ống với các thiết bị khác. Mặt bích 4 inch thường được sử dụng trong các hệ thống có đường kính ống nhỏ đến trung bình, đảm bảo sự kết nối chắc chắn và an toàn. Vai trò của mặt bích không chỉ dừng lại ở việc kết nối mà còn giúp ngăn chặn rò rỉ, chịu áp lực và nhiệt độ cao, từ đó đảm bảo hiệu suất hoạt động của toàn bộ hệ thống.

Ứng dụng phổ biến của mặt bích 4 inch trong công nghiệp
Mặt bích 4 inch được ứng dụng rộng rãi trong nhiều ngành công nghiệp như dầu khí, hóa chất, thực phẩm, và xử lý nước. Trong ngành dầu khí, mặt bích 4 inch giúp kết nối các đường ống dẫn dầu và khí, chịu được áp suất cao và điều kiện môi trường khắc nghiệt. Trong ngành hóa chất, mặt bích đảm bảo không có rò rỉ hóa chất độc hại ra môi trường. Với ngành thực phẩm, mặt bích 4 inch được làm từ vật liệu không gỉ, đảm bảo vệ sinh an toàn thực phẩm. Cuối cùng, trong xử lý nước, mặt bích giúp kết nối các hệ thống lọc và dẫn nước một cách hiệu quả.
Chi tiết kỹ thuật và flange 4 inch dimensions
Kích thước tiêu chuẩn và tiêu chuẩn kỹ thuật
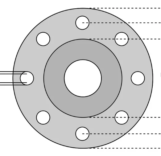
Flange 4 inch dimensions thường tuân theo các tiêu chuẩn quốc tế như ANSI, DIN, hoặc JIS, đảm bảo tính tương thích và an toàn khi sử dụng. Các thông số kỹ thuật bao gồm đường kính ngoài, đường kính trong, độ dày, và số lượng lỗ bu lông. Đường kính ngoài của mặt bích 4 inch thường vào khoảng 230 mm, trong khi đường kính trong là 102 mm. Độ dày của mặt bích thường dao động từ 16 mm đến 24 mm, tùy thuộc vào áp suất và nhiệt độ làm việc.
Phân loại theo kiểu dáng và chức năng
Mặt bích 4 inch có thể được phân loại theo nhiều kiểu dáng và chức năng khác nhau như mặt bích hàn cổ, mặt bích hàn bích, và mặt bích ren. Mặt bích hàn cổ có cấu trúc chắc chắn, phù hợp với các ứng dụng có áp suất cao. Mặt bích hàn bích thường được sử dụng trong các hệ thống ống dẫn nước và khí. Mặt bích ren thì dễ dàng lắp đặt và tháo rời, thích hợp cho các ứng dụng cần bảo trì thường xuyên.
So sánh kích thước với các kích thước mặt bích phổ biến khác
Khi so sánh với các kích thước mặt bích khác như 2 inch, 6 inch, và 8 inch, mặt bích 4 inch nằm ở phân khúc trung bình, phù hợp cho nhiều ứng dụng công nghiệp. Mặt bích 2 inch thường được sử dụng trong các hệ thống nhỏ hơn, trong khi mặt bích 6 inch và 8 inch thích hợp cho các hệ thống lớn hơn, có lưu lượng và áp suất cao. Sự lựa chọn kích thước mặt bích phụ thuộc vào yêu cầu cụ thể của hệ thống và điều kiện hoạt động.
Hướng dẫn đọc và sử dụng các bản vẽ kỹ thuật
Để sử dụng mặt bích 4 inch một cách hiệu quả, việc hiểu và đọc các bản vẽ kỹ thuật là rất quan trọng. Bản vẽ kỹ thuật cung cấp thông tin chi tiết về kích thước, vật liệu, và các thông số kỹ thuật cần thiết để lắp đặt mặt bích. Khi đọc bản vẽ, cần chú ý đến các ký hiệu và tiêu chuẩn được sử dụng, đảm bảo rằng mặt bích sẽ phù hợp với hệ thống hiện có. Việc nắm vững các kỹ năng này sẽ giúp kỹ sư và người sử dụng tránh được những sai sót trong quá trình lắp đặt và vận hành.
Các yếu tố ảnh hưởng đến kích thước và hiệu năng mặt bích
Các yếu tố như áp suất, nhiệt độ, và môi trường hoạt động có thể ảnh hưởng đến kích thước và hiệu năng của mặt bích 4 inch. Áp suất cao yêu cầu mặt bích có độ dày lớn hơn để đảm bảo an toàn. Nhiệt độ cao có thể làm biến dạng mặt bích nếu vật liệu không đủ chịu nhiệt. Môi trường ăn mòn đòi hỏi mặt bích được làm từ vật liệu chống ăn mòn để duy trì hiệu suất lâu dài. Việc hiểu rõ các yếu tố này sẽ giúp lựa chọn và sử dụng mặt bích một cách tối ưu.

Vật liệu chế tạo và lựa chọn phù hợp cho mặt bích 4 inch
Các loại vật liệu phổ biến và đặc điểm hiệu suất
Mặt bích 4 inch thường được chế tạo từ các vật liệu như thép không gỉ, thép carbon, và hợp kim đặc biệt. Thép không gỉ có khả năng chống ăn mòn tốt, thích hợp cho các ứng dụng trong ngành thực phẩm và hóa chất. Thép carbon có độ bền cao, phù hợp cho các ứng dụng chịu áp lực. Các hợp kim đặc biệt như Inconel hay Hastelloy được sử dụng trong các điều kiện khắc nghiệt, nơi yêu cầu khả năng chịu nhiệt và ăn mòn cao.
Hướng dẫn chọn vật liệu theo ứng dụng cụ thể
Khi chọn vật liệu cho mặt bích 4 inch, cần xem xét các điều kiện hoạt động cụ thể như áp suất, nhiệt độ, và môi trường. Đối với các ứng dụng chịu áp suất cao, thép carbon có thể là lựa chọn phù hợp. Trong môi trường ăn mòn, thép không gỉ hoặc hợp kim đặc biệt sẽ đảm bảo độ bền và an toàn. Việc lựa chọn đúng vật liệu không chỉ giúp tăng cường hiệu suất mà còn kéo dài tuổi thọ của mặt bích.
Tác động của vật liệu đến hiệu suất và độ bền
Vật liệu chế tạo mặt bích có ảnh hưởng lớn đến hiệu suất và độ bền của nó. Vật liệu chất lượng cao sẽ đảm bảo mặt bích hoạt động ổn định dưới các điều kiện khắc nghiệt, trong khi vật liệu kém chất lượng có thể dẫn đến hỏng hóc và rò rỉ. Việc đầu tư vào vật liệu tốt ngay từ đầu sẽ giúp tiết kiệm chi phí bảo trì và thay thế trong tương lai.
Xu hướng mới trong công nghệ sản xuất vật liệu mặt bích
Công nghệ sản xuất vật liệu mặt bích đang không ngừng phát triển, với các xu hướng mới như sử dụng vật liệu composite, công nghệ in 3D, và các hợp kim tiên tiến. Vật liệu composite nhẹ hơn và có khả năng chống ăn mòn tốt, trong khi công nghệ in 3D cho phép sản xuất các mặt bích có cấu trúc phức tạp với độ chính xác cao. Các hợp kim tiên tiến được phát triển để đáp ứng nhu cầu ngày càng cao về khả năng chịu nhiệt và ăn mòn, mở ra nhiều cơ hội mới cho ngành công nghiệp mặt bích.
Hướng dẫn đo lường flange 4 inch dimensions
Các bước cơ bản để đo flange 4 inch dimensions
Việc đo lường flange 4 inch dimensions đòi hỏi sự chính xác và cẩn thận. Đầu tiên, cần xác định các thông số cần đo như đường kính ngoài, đường kính trong, và độ dày. Sử dụng thước đo chuyên dụng để đảm bảo độ chính xác. Khi đo, cần lưu ý giữ thước đo vuông góc với bề mặt mặt bích để tránh sai số. Ghi lại các số liệu đo được để so sánh với các tiêu chuẩn kỹ thuật đã đề ra.
Dụng cụ đo lường cần thiết và cách sử dụng
Để đo lường kích thước mặt bích 4 inch, cần sử dụng các dụng cụ đo lường chính xác như thước cặp, thước đo đường kính, và máy đo độ dày. Thước cặp dùng để đo đường kính ngoài và trong, trong khi thước đo đường kính chuyên dụng giúp đo chính xác các kích thước lớn hơn. Máy đo độ dày giúp xác định độ dày của mặt bích, đảm bảo rằng nó đáp ứng yêu cầu kỹ thuật. Việc sử dụng đúng dụng cụ sẽ giúp đảm bảo độ chính xác và tránh các sai sót không đáng có.
Lưu ý để bảo đảm độ chính xác khi đo
Để đảm bảo độ chính xác khi đo kích thước mặt bích 4 inch, cần chú ý đến các yếu tố như nhiệt độ môi trường, độ ẩm, và cách sử dụng dụng cụ đo. Nhiệt độ và độ ẩm có thể ảnh hưởng đến kích thước của mặt bích, do đó cần đo trong điều kiện tiêu chuẩn. Khi sử dụng dụng cụ đo, cần đảm bảo chúng được hiệu chuẩn đúng cách và không bị hư hỏng. Ngoài ra, việc đo lặp lại nhiều lần và lấy giá trị trung bình cũng giúp tăng độ chính xác của kết quả đo.
Quy trình lắp đặt và kiểm tra mặt bích 4 inch
Các bước chi tiết lắp đặt an toàn
Lắp đặt mặt bích 4 inch đòi hỏi sự tỉ mỉ và tuân thủ các quy trình an toàn. Đầu tiên, cần kiểm tra các thành phần của mặt bích và đảm bảo không có hư hỏng. Tiếp theo, làm sạch bề mặt tiếp xúc để đảm bảo không có bụi bẩn. Khi lắp đặt, cần sử dụng các dụng cụ chuyên dụng để siết chặt các bu lông, đảm bảo lực siết đều và không quá chặt. Cuối cùng, kiểm tra lại toàn bộ hệ thống để đảm bảo không có rò rỉ trước khi đưa vào vận hành.
Thực hành kiểm tra sau lắp đặt
Sau khi lắp đặt mặt bích 4 inch, cần thực hiện các kiểm tra để đảm bảo tính toàn vẹn của hệ thống. Kiểm tra áp suất bằng cách tăng áp suất trong hệ thống và quan sát xem có hiện tượng rò rỉ không. Kiểm tra nhiệt độ để đảm bảo mặt bích hoạt động ổn định dưới điều kiện nhiệt độ cao. Ngoài ra, cần kiểm tra các mối nối và bu lông để đảm bảo chúng được siết chặt đúng cách. Việc kiểm tra kỹ lưỡng sẽ giúp phát hiện sớm các vấn đề và tránh các sự cố trong quá trình vận hành.

Xử lý các vấn đề thường gặp và giải pháp
Trong quá trình lắp đặt và vận hành mặt bích 4 inch, có thể gặp phải một số vấn đề như rò rỉ, biến dạng, hoặc hỏng hóc. Để xử lý rò rỉ, cần kiểm tra lại các mối nối và bu lông, đảm bảo chúng được siết chặt đúng cách. Nếu mặt bích bị biến dạng do nhiệt độ cao, cần xem xét thay thế bằng mặt bích chịu nhiệt. Trong trường hợp hỏng hóc, cần xác định nguyên nhân và thay thế các thành phần bị hỏng. Việc bảo trì định kỳ và kiểm tra thường xuyên sẽ giúp ngăn ngừa và khắc phục các vấn đề kịp thời.
Kinh nghiệm và lưu ý khi lựa chọn mặt bích 4 inch
Yếu tố ảnh hưởng đến quyết định chọn mặt bích
Khi lựa chọn mặt bích 4 inch, cần xem xét các yếu tố như áp suất, nhiệt độ, môi trường hoạt động, và vật liệu chế tạo. Áp suất và nhiệt độ cao yêu cầu mặt bích có độ bền và khả năng chịu nhiệt tốt. Môi trường ăn mòn đòi hỏi vật liệu chống ăn mòn. Ngoài ra, cần xem xét tiêu chuẩn kỹ thuật và kích thước để đảm bảo tính tương thích với hệ thống hiện có. Việc lựa chọn đúng mặt bích sẽ giúp tối ưu hóa hiệu suất và đảm bảo an toàn cho hệ thống.
Mẹo chọn mua mặt bích đảm bảo chất lượng
Để chọn mua mặt bích 4 inch chất lượng, cần tìm hiểu kỹ về nhà sản xuất và các tiêu chuẩn kỹ thuật mà mặt bích đáp ứng. Nên lựa chọn các nhà cung cấp uy tín, có chứng nhận chất lượng và kinh nghiệm trong ngành. Kiểm tra kỹ các thông số kỹ thuật và yêu cầu sản phẩm để đảm bảo chúng phù hợp với nhu cầu sử dụng. Ngoài ra, nên tham khảo ý kiến chuyên gia và đánh giá của người dùng trước khi quyết định mua hàng.
Nhà cung cấp và thương hiệu uy tín
Trên thị trường hiện nay, có nhiều nhà cung cấp và thương hiệu mặt bích uy tín như Inoxmen, An Phát, và Kim Tín. Các thương hiệu này nổi tiếng với chất lượng sản phẩm cao, đáp ứng các tiêu chuẩn quốc tế và có dịch vụ hậu mãi tốt. Khi lựa chọn nhà cung cấp, cần xem xét các yếu tố như thời gian giao hàng, chính sách bảo hành, và hỗ trợ kỹ thuật để đảm bảo sự hài lòng và an tâm khi sử dụng sản phẩm.
Kết luận và khuyến nghị
Tóm tắt các điểm chính đã thảo luận
Bài viết đã cung cấp cái nhìn tổng quan về mặt bích 4 inch, từ định nghĩa, vai trò, đến các chi tiết kỹ thuật và quy trình lắp đặt. Mặt bích 4 inch là một thành phần quan trọng trong nhiều ngành công nghiệp, với nhiều ứng dụng đa dạng. Việc hiểu rõ các yếu tố ảnh hưởng đến kích thước và hiệu năng, cùng với việc lựa chọn vật liệu phù hợp, sẽ giúp tối ưu hóa hiệu suất và đảm bảo an toàn cho hệ thống.
Lời khuyên cuối cùng cho người sử dụng và kỹ sư
Đối với người sử dụng và kỹ sư, việc nắm vững kiến thức về mặt bích 4 inch và các quy trình liên quan là rất quan trọng. Hãy luôn cập nhật các xu hướng mới trong công nghệ và vật liệu để có thể lựa chọn và sử dụng mặt bích một cách hiệu quả nhất. Đừng quên thực hiện bảo trì định kỳ và kiểm tra thường xuyên để đảm bảo hệ thống hoạt động ổn định. Cuối cùng, hãy chọn mua sản phẩm từ các nhà cung cấp uy tín để đảm bảo chất lượng và an toàn.
Rất mong các bạn quan tâm và theo dõi inoxmen.vn để cập nhật thông tin mới nhất về flange 4 inch dimensions!