Din 100 flange
Din 100 flange
Mặt bích DIN 100, một thành phần quan trọng trong ngành công nghiệp, đóng vai trò thiết yếu trong việc kết nối các hệ thống đường ống và thiết bị. Được phát triển dựa trên tiêu chuẩn DIN của Đức, mặt bích này không chỉ đảm bảo tính chính xác và độ bền mà còn mang lại hiệu quả cao trong nhiều ứng dụng công nghiệp. Trong bài viết này, chúng ta sẽ khám phá sâu hơn về lịch sử, cấu tạo, ứng dụng, và những lợi ích khi sử dụng Din 100 flange. Cùng tìm hiểu cách mà tiêu chuẩn này đã và đang định hình ngành công nghiệp hiện đại.
Giới thiệu về mặt bích DIN và tiêu chuẩn DIN 100
Lịch sử phát triển và ý nghĩa của tiêu chuẩn DIN
Tiêu chuẩn DIN (Deutsches Institut für Normung) được thành lập vào năm 1917 tại Đức, với mục tiêu tạo ra một hệ thống tiêu chuẩn hóa để đảm bảo tính đồng nhất và chất lượng trong sản xuất công nghiệp. DIN đã trở thành một trong những tiêu chuẩn quốc tế quan trọng, được công nhận và áp dụng rộng rãi trong nhiều ngành công nghiệp. Tiêu chuẩn này không chỉ giúp tăng cường tính an toàn và hiệu quả mà còn thúc đẩy sự phát triển bền vững và đổi mới công nghệ.

Thành phần và thiết kế của din 100 flange
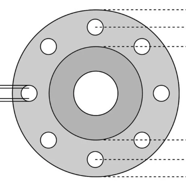
Mặt bích DIN được thiết kế dựa trên các thông số kỹ thuật cụ thể, bao gồm đường kính, độ dày và vật liệu chế tạo. Các mặt bích này thường được làm từ thép không gỉ, thép carbon, hoặc hợp kim nhôm, tùy thuộc vào yêu cầu sử dụng cụ thể. Đặc điểm nổi bật của mặt bích DIN là khả năng chịu áp lực cao và độ bền vượt trội, giúp chúng hoạt động hiệu quả trong các môi trường khắc nghiệt.
Các loại mặt bích DIN và đặc điểm nhận dạng
Có nhiều loại mặt bích DIN khác nhau, mỗi loại có đặc điểm và ứng dụng riêng. Các loại phổ biến bao gồm mặt bích hàn cổ, mặt bích hàn trượt, và mặt bích ren. Mỗi loại mặt bích có thiết kế đặc biệt để phù hợp với các điều kiện áp lực và nhiệt độ khác nhau, đảm bảo tính linh hoạt và hiệu quả trong ứng dụng công nghiệp.
Vai trò và ảnh hưởng của mặt bích trong ngành công nghiệp hiện đại
Mặt bích đóng vai trò quan trọng trong việc kết nối các hệ thống ống dẫn, giúp đảm bảo tính liên tục và an toàn của dòng chảy. Trong ngành công nghiệp hiện đại, mặt bích không chỉ là một thành phần kết nối mà còn là yếu tố quyết định đến hiệu suất và độ tin cậy của toàn bộ hệ thống. Chúng giúp giảm thiểu rủi ro rò rỉ, tối ưu hóa chi phí bảo trì và nâng cao tuổi thọ của thiết bị.
Đặc điểm và cấu tạo của DIN 100 flange
Đặc điểm kỹ thuật và thiết kế cấu tạo
Mặt bích DIN 100 được thiết kế với đường kính danh nghĩa 100mm, thường được sử dụng trong các hệ thống có áp suất từ trung bình đến cao. Thiết kế của mặt bích này bao gồm một bề mặt phẳng hoặc gân để đảm bảo kết nối kín và chắc chắn. Vật liệu chế tạo chủ yếu là thép không gỉ, giúp chống ăn mòn và chịu được nhiệt độ cao.
Quy trình sản xuất và các vật liệu phổ biến
Quy trình sản xuất mặt bích DIN 100 thường bao gồm các bước như cắt, gia công cơ khí, xử lý nhiệt và kiểm tra chất lượng. Các vật liệu phổ biến được sử dụng bao gồm thép không gỉ, thép carbon và hợp kim nhôm, mỗi loại có ưu điểm riêng về độ bền, khả năng chống ăn mòn và chịu nhiệt.
Tiêu chuẩn và yêu cầu kỹ thuật của DIN 100
Tiêu chuẩn DIN 100 đòi hỏi các mặt bích phải đáp ứng các yêu cầu kỹ thuật nghiêm ngặt về kích thước, độ bền và khả năng chịu áp lực. Các bài kiểm tra chất lượng thường bao gồm kiểm tra độ cứng, kiểm tra áp lực và kiểm tra độ kín. Những yêu cầu này đảm bảo rằng mặt bích DIN 100 có thể hoạt động hiệu quả và an toàn trong các ứng dụng công nghiệp.
Sự khác biệt giữa DIN 100 và các tiêu chuẩn mặt bích khác
So với các tiêu chuẩn mặt bích khác như ANSI, JIS hay BS, mặt bích DIN 100 có những đặc điểm riêng biệt về kích thước và thiết kế. Điều này giúp chúng phù hợp hơn với các hệ thống tiêu chuẩn châu Âu và đảm bảo tính tương thích với các thiết bị và ống dẫn khác trong hệ thống. Sự khác biệt này cũng giúp tối ưu hóa hiệu suất và độ bền của toàn bộ hệ thống.

Ứng dụng thực tế của mặt bích DIN 100
Ngành công nghiệp dầu khí
Trong ngành công nghiệp dầu khí, mặt bích DIN 100 được sử dụng rộng rãi để kết nối các đường ống dẫn dầu và khí đốt. Khả năng chịu áp lực cao và chống ăn mòn của mặt bích này giúp đảm bảo an toàn và hiệu quả trong quá trình vận chuyển và xử lý dầu khí. Chúng cũng giúp giảm thiểu rủi ro rò rỉ, bảo vệ môi trường và tăng cường hiệu suất hoạt động của hệ thống.
Hệ thống hóa chất và an toàn
Mặt bích DIN 100 cũng được ứng dụng trong các hệ thống hóa chất, nơi mà tính an toàn và độ bền là yếu tố quan trọng. Khả năng chống ăn mòn và chịu được các hóa chất mạnh giúp mặt bích này duy trì độ kín và an toàn trong các điều kiện khắc nghiệt. Điều này không chỉ bảo vệ thiết bị mà còn đảm bảo an toàn cho người lao động và môi trường xung quanh.
Hệ thống cấp thoát nước và kiểm soát lưu lượng
Trong các hệ thống cấp thoát nước, mặt bích DIN 100 được sử dụng để kết nối các ống dẫn và thiết bị kiểm soát lưu lượng. Độ bền và khả năng chịu áp lực của mặt bích này giúp đảm bảo tính liên tục và hiệu quả của hệ thống. Chúng cũng giúp giảm thiểu rủi ro rò rỉ nước, tối ưu hóa chi phí bảo trì và nâng cao tuổi thọ của hệ thống.
Ứng dụng khác trong công nghiệp và xây dựng
Bên cạnh các ứng dụng trên, mặt bích DIN 100 còn được sử dụng trong nhiều lĩnh vực công nghiệp khác như sản xuất điện, chế biến thực phẩm, và xây dựng. Khả năng linh hoạt và độ bền cao của mặt bích này giúp chúng phù hợp với nhiều ứng dụng khác nhau, từ các hệ thống nhiệt điện đến các công trình xây dựng phức tạp.
Hướng dẫn lựa chọn mặt bích DIN 100 phù hợp
Tiêu chí lựa chọn cho từng ứng dụng
Khi lựa chọn mặt bích DIN 100, cần xem xét các tiêu chí như áp suất hoạt động, nhiệt độ, và môi trường sử dụng. Đối với các ứng dụng có áp suất cao, nên chọn mặt bích có độ dày lớn và vật liệu chịu lực tốt như thép không gỉ. Ngoài ra, cần xem xét khả năng chống ăn mòn và độ bền của vật liệu để đảm bảo an toàn và hiệu quả trong quá trình sử dụng.
So sánh với các loại mặt bích khác
So với các loại mặt bích khác như ANSI hay JIS, mặt bích DIN 100 có ưu điểm về khả năng chịu áp lực và độ bền. Tuy nhiên, cần cân nhắc đến tính tương thích với hệ thống hiện tại và các tiêu chuẩn khác khi lựa chọn. Điều này giúp đảm bảo rằng mặt bích sẽ hoạt động hiệu quả và không gây ra sự cố trong quá trình vận hành.
Những sai lầm thường gặp khi lựa chọn
Một số sai lầm thường gặp khi lựa chọn mặt bích DIN 100 bao gồm không xem xét kỹ các yêu cầu kỹ thuật, chọn sai vật liệu, và không kiểm tra độ bền của mặt bích. Để tránh những sai lầm này, cần thực hiện các bài kiểm tra chất lượng và tham khảo ý kiến của các chuyên gia trước khi quyết định lựa chọn.
Hướng dẫn bảo trì và bảo quản mặt bích
Để đảm bảo độ bền và hiệu suất của mặt bích DIN 100, cần thực hiện bảo trì định kỳ và bảo quản đúng cách. Các bước bảo trì bao gồm kiểm tra độ kín, làm sạch bề mặt, và kiểm tra độ bền của vật liệu. Ngoài ra, cần lưu trữ mặt bích ở nơi khô ráo, thoáng mát để tránh ăn mòn và hư hỏng.
Lợi ích và thách thức khi sử dụng din 100 flange
Tối ưu hóa chi phí vận hành và bảo trì
Mặt bích DIN 100 giúp tối ưu hóa chi phí vận hành và bảo trì nhờ vào độ bền và khả năng chịu áp lực cao. Chúng giúp giảm thiểu rủi ro hỏng hóc và kéo dài tuổi thọ của hệ thống, từ đó giảm thiểu chi phí sửa chữa và thay thế. Việc sử dụng mặt bích chất lượng cao cũng giúp nâng cao hiệu suất hoạt động của toàn bộ hệ thống.
Thách thức kỹ thuật trong lắp đặt và bảo trì
Mặc dù có nhiều lợi ích, việc lắp đặt và bảo trì mặt bích DIN 100 cũng đối mặt với một số thách thức kỹ thuật. Các thách thức này bao gồm việc đảm bảo độ kín của kết nối, kiểm soát áp suất và nhiệt độ, và xử lý các vấn đề ăn mòn. Để khắc phục, cần có đội ngũ kỹ thuật viên có kinh nghiệm và thực hiện các biện pháp bảo trì định kỳ.
Giải pháp khắc phục và cải tiến hệ thống
Để cải thiện hiệu suất và độ bền của hệ thống sử dụng mặt bích DIN 100, cần áp dụng các giải pháp khắc phục và cải tiến như sử dụng vật liệu chất lượng cao, thực hiện kiểm tra định kỳ, và áp dụng các công nghệ mới. Những cải tiến này không chỉ giúp nâng cao hiệu suất mà còn đảm bảo an toàn và độ tin cậy của hệ thống.

Đánh giá tác động môi trường và an toàn
Mặt bích DIN 100 có tác động tích cực đến môi trường và an toàn nhờ vào khả năng giảm thiểu rò rỉ và bảo vệ môi trường. Chúng giúp giảm thiểu phát thải khí và chất lỏng độc hại, bảo vệ nguồn nước và không khí. Ngoài ra, việc sử dụng mặt bích chất lượng cao cũng giúp đảm bảo an toàn cho người lao động và cộng đồng xung quanh.
Lợi ích kinh tế khi sử dụng DIN 100
Việc sử dụng mặt bích DIN 100 mang lại nhiều lợi ích kinh tế nhờ vào khả năng tối ưu hóa chi phí và nâng cao hiệu suất hoạt động. Chúng giúp giảm thiểu chi phí sửa chữa và thay thế, tăng cường độ bền và độ tin cậy của hệ thống. Điều này không chỉ giúp tiết kiệm chi phí mà còn tạo ra giá trị kinh tế bền vững cho doanh nghiệp.
Kết luận
Tóm tắt các ưu điểm nổi bật của mặt bích DIN 100
Mặt bích DIN 100 nổi bật với độ bền cao, khả năng chịu áp lực và chống ăn mòn tốt, cùng với khả năng tương thích với nhiều hệ thống công nghiệp. Những ưu điểm này giúp chúng trở thành lựa chọn hàng đầu trong nhiều ứng dụng công nghiệp, từ dầu khí đến hóa chất và xây dựng.
Dự đoán và xu hướng phát triển trong tương lai
Trong tương lai, din 100 flange dự kiến sẽ tiếp tục phát triển và được ứng dụng rộng rãi hơn nhờ vào sự tiến bộ của công nghệ và nhu cầu ngày càng cao về an toàn và hiệu quả. Các xu hướng phát triển bao gồm việc sử dụng các vật liệu mới, cải tiến thiết kế và áp dụng công nghệ thông minh để nâng cao hiệu suất và độ bền của hệ thống.
Tầm quan trọng chiến lược của mặt bích trong công nghiệp
Din 100 flange đóng vai trò chiến lược trong ngành công nghiệp, góp phần nâng cao hiệu suất và độ tin cậy của các hệ thống công nghiệp. Chúng không chỉ giúp tối ưu hóa chi phí mà còn đảm bảo an toàn và bảo vệ môi trường, tạo ra giá trị bền vững cho doanh nghiệp và cộng đồng.
Rất mong các bạn quan tâm và theo dõi inoxmen.vn để cập nhật thông tin mới nhất về din 100 flange!