BS4504 pn16 flange dimensions
Giới thiệu về BS4504 PN16 flange dimensions
Trong thế giới công nghiệp hiện đại, việc lựa chọn và sử dụng các tiêu chuẩn kỹ thuật phù hợp là vô cùng quan trọng. BS4504 PN16 flange dimensions không chỉ là một trong những tiêu chuẩn phổ biến nhất cho mặt bích mà còn mang lại nhiều lợi ích vượt trội. Bài viết này sẽ đi sâu vào phân tích các khía cạnh của tiêu chuẩn BS4504 PN16, từ lịch sử hình thành, thông số kỹ thuật chi tiết cho đến ứng dụng thực tế và hướng dẫn lắp đặt. Qua đó, bạn sẽ hiểu rõ hơn về tầm quan trọng và ưu điểm của việc sử dụng tiêu chuẩn này trong công nghiệp.

Lịch sử hình thành và phát triển tiêu chuẩn
Tiêu chuẩn BS4504 được phát triển nhằm đáp ứng nhu cầu ngày càng cao về các giải pháp kết nối đường ống công nghiệp. Ban đầu, tiêu chuẩn này được áp dụng chủ yếu tại Anh, nhưng với sự phát triển của công nghiệp toàn cầu, BS4504 nhanh chóng trở thành một tiêu chuẩn quốc tế. PN16 là một phần của tiêu chuẩn này, chỉ ra áp suất danh định mà mặt bích có thể chịu được, tương đương với 16 bar. Qua nhiều năm, tiêu chuẩn đã được cải tiến và cập nhật để đáp ứng các yêu cầu kỹ thuật ngày càng cao.
Tầm quan trọng trong ngành công nghiệp
Ứng dụng phổ biến
BS4504 PN16 đóng vai trò quan trọng trong nhiều ngành công nghiệp như dầu khí, hóa chất, và nước. Mặt bích theo tiêu chuẩn này thường được sử dụng để kết nối các đường ống trong hệ thống dẫn chất lỏng và khí, đảm bảo an toàn và hiệu quả trong vận hành. Với khả năng chịu áp suất cao, mặt bích BS4504 PN16 là lựa chọn lý tưởng cho các ứng dụng yêu cầu sự bền bỉ và độ tin cậy.
So sánh với các tiêu chuẩn mặt bích khác
So với các tiêu chuẩn khác như ANSI, JIS, hay DIN, BS4504 PN16 có những đặc điểm riêng biệt về kích thước và khả năng chịu áp suất. Trong khi ANSI thường được sử dụng tại Mỹ, JIS phổ biến tại Nhật Bản, thì BS4504 lại có phạm vi ứng dụng rộng rãi hơn trên toàn cầu. Điều này giúp các doanh nghiệp dễ dàng lựa chọn tiêu chuẩn phù hợp với nhu cầu và điều kiện kỹ thuật của mình.
Thông số kỹ thuật chi tiết của mặt bích BS4504 PN16
Kích thước chủ yếu: đường kính, chiều cao, độ dày
Bảng kích thước chuẩn
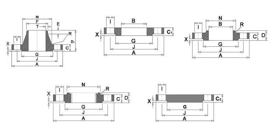
Mặt bích BS4504 PN16 có nhiều kích thước khác nhau, phù hợp với đa dạng ứng dụng. Đường kính ngoài, đường kính trong, chiều cao và độ dày của mặt bích được quy định rõ ràng trong bảng kích thước chuẩn, giúp người sử dụng dễ dàng lựa chọn sản phẩm phù hợp. Các kích thước này đảm bảo sự tương thích và khả năng kết nối tối ưu giữa các thành phần trong hệ thống.
Vật liệu chế tạo và đặc tính cơ học
Mặt bích BS4504 PN16 thường được chế tạo từ các vật liệu như thép không gỉ, thép carbon, và hợp kim nhôm. Mỗi loại vật liệu có những ưu điểm riêng về độ bền, khả năng chống ăn mòn, và khả năng chịu nhiệt. Việc lựa chọn vật liệu phù hợp không chỉ giúp tăng tuổi thọ của sản phẩm mà còn đảm bảo an toàn trong quá trình vận hành.
Khả năng chịu áp lực và nhiệt độ
Với áp suất danh định 16 bar, mặt bích BS4504 PN16 có khả năng chịu áp lực cao, phù hợp với các hệ thống dẫn chất lỏng và khí có yêu cầu khắt khe về áp suất. Ngoài ra, mặt bích này cũng có khả năng chịu nhiệt tốt, giúp nó hoạt động hiệu quả trong các môi trường có nhiệt độ cao.
Thiết kế tiêu chuẩn và hiệu suất vận hành
Thiết kế của mặt bích BS4504 PN16 tuân theo các tiêu chuẩn kỹ thuật nghiêm ngặt, đảm bảo hiệu suất vận hành tối ưu. Các yếu tố như độ chính xác trong gia công, khả năng chống rò rỉ và độ bền cơ học đều được chú trọng, giúp sản phẩm hoạt động ổn định và an toàn.

Bảo dưỡng và độ bền sản phẩm
Để duy trì hiệu suất và độ bền của mặt bích BS4504 PN16, việc bảo dưỡng định kỳ là rất cần thiết. Các công việc như kiểm tra độ kín, vệ sinh bề mặt và kiểm tra các kết nối đều giúp phát hiện sớm các vấn đề và ngăn ngừa sự cố. Với quy trình bảo dưỡng hợp lý, mặt bích có thể hoạt động hiệu quả trong nhiều năm.
Các tiêu chuẩn kỹ thuật và chứng nhận liên quan
Quy chuẩn kỹ thuật và tiêu chuẩn kèm theo
BS4504 PN16 không chỉ tuân theo các quy chuẩn kỹ thuật của Anh mà còn được công nhận rộng rãi trên toàn thế giới. Các tiêu chuẩn kèm theo như ISO, EN, và ASME cung cấp các hướng dẫn chi tiết về thiết kế, sản xuất và thử nghiệm sản phẩm, đảm bảo chất lượng và độ an toàn cao nhất.
Quy trình chứng nhận và kiểm định
Quy trình chứng nhận cho mặt bích BS4504 PN16 bao gồm nhiều bước kiểm định nghiêm ngặt. Từ việc kiểm tra nguyên liệu đầu vào, quá trình sản xuất cho đến thử nghiệm sản phẩm hoàn thiện, mỗi bước đều được giám sát chặt chẽ. Các chứng nhận từ các tổ chức uy tín như TUV, Lloyd's Register, hay DNV GL là minh chứng cho chất lượng và độ tin cậy của sản phẩm.
Ứng dụng thực tế và phân tích thị trường của mặt bích BS4504 PN16
Nhà sản xuất và dòng sản phẩm phổ biến
Đánh giá sản phẩm từ các nhà sản xuất hàng đầu
Trên thị trường hiện nay, có nhiều nhà sản xuất uy tín cung cấp mặt bích BS4504 PN16 với chất lượng và giá cả cạnh tranh. Các thương hiệu như Inoxmen, Parker, và Swagelok đều nổi tiếng với các sản phẩm đạt tiêu chuẩn cao, được đánh giá cao về độ bền và hiệu suất. Khách hàng có thể dễ dàng tìm thấy các sản phẩm phù hợp với nhu cầu và ngân sách của mình.
Yếu tố ảnh hưởng đến giá cả và chất lượng
Phân tích chuỗi cung ứng
Giá cả và chất lượng của mặt bích BS4504 PN16 phụ thuộc vào nhiều yếu tố như nguồn nguyên liệu, công nghệ sản xuất, và chi phí vận chuyển. Việc tối ưu hóa chuỗi cung ứng không chỉ giúp giảm chi phí mà còn đảm bảo chất lượng sản phẩm ổn định. Các nhà sản xuất thường chú trọng đến việc lựa chọn nhà cung cấp nguyên liệu uy tín và áp dụng các công nghệ tiên tiến trong sản xuất để nâng cao chất lượng.
Xu hướng thị trường và dự báo tương lai
Xu hướng thị trường cho mặt bích BS4504 PN16 đang cho thấy sự tăng trưởng mạnh mẽ, đặc biệt là trong các ngành công nghiệp năng lượng và hóa chất. Dự báo trong tương lai, nhu cầu về các sản phẩm đạt tiêu chuẩn cao sẽ tiếp tục tăng, kéo theo sự phát triển của công nghệ sản xuất và mở rộng thị trường tiêu thụ. Các doanh nghiệp cần nắm bắt xu hướng này để có chiến lược phát triển phù hợp.
Hướng dẫn lắp đặt và bảo dưỡng mặt bích BS4504 PN16
Tiêu chí lựa chọn và ứng dụng
Khi lựa chọn mặt bích BS4504 PN16, người dùng cần xem xét các tiêu chí như kích thước, vật liệu, và khả năng chịu áp suất. Việc lựa chọn đúng sản phẩm không chỉ giúp tối ưu hóa hiệu suất mà còn đảm bảo an toàn trong quá trình sử dụng. Mặt bích cần được lắp đặt đúng cách để đảm bảo kết nối chắc chắn và ngăn ngừa rò rỉ.
Quy trình lắp đặt và kiểm tra chất lượng
Hướng dẫn chi tiết từng bước
Quy trình lắp đặt mặt bích BS4504 PN16 bao gồm các bước chính như chuẩn bị bề mặt, căn chỉnh vị trí, và siết chặt các bu lông. Mỗi bước đều cần được thực hiện cẩn thận để đảm bảo kết nối chắc chắn và ngăn ngừa rò rỉ. Sau khi lắp đặt, cần tiến hành kiểm tra chất lượng để đảm bảo mặt bích hoạt động ổn định và an toàn.
Bảo trì định kỳ và khắc phục sự cố
Bảo trì định kỳ là yếu tố quan trọng để duy trì hiệu suất và độ bền của mặt bích BS4504 PN16. Các công việc như kiểm tra độ kín, vệ sinh bề mặt, và kiểm tra các kết nối đều giúp phát hiện sớm các vấn đề và ngăn ngừa sự cố. Trong trường hợp có sự cố, cần thực hiện các biện pháp khắc phục kịp thời để đảm bảo an toàn và hiệu quả vận hành.

Kết luận về mặt bích BS4504 PN16
Lợi ích và ưu điểm khi sử dụng BS4504 pn16 flange dimensions
Tiêu chuẩn BS4504 PN16 mang lại nhiều lợi ích vượt trội cho người sử dụng, từ khả năng chịu áp suất cao, độ bền vật liệu cho đến tính linh hoạt trong ứng dụng. Việc sử dụng mặt bích theo tiêu chuẩn này không chỉ giúp tăng hiệu suất vận hành mà còn đảm bảo an toàn và độ tin cậy trong các hệ thống công nghiệp.
Dự báo phát triển và khuyến nghị cho người dùng
Các bước nâng cao hiệu quả sử dụng
Trong bối cảnh thị trường ngày càng cạnh tranh, việc nắm bắt xu hướng và áp dụng các công nghệ tiên tiến là yếu tố then chốt để nâng cao hiệu quả sử dụng mặt bích BS4504 PN16. Người dùng cần chú trọng đến việc bảo dưỡng định kỳ, lựa chọn sản phẩm chất lượng và tuân thủ các quy trình lắp đặt để đảm bảo an toàn và hiệu quả tối đa.
Tóm lại, mặt bích BS4504 PN16 là một lựa chọn lý tưởng cho các ứng dụng công nghiệp yêu cầu độ bền và hiệu suất cao. Với sự phát triển không ngừng của công nghệ và nhu cầu thị trường, tiêu chuẩn này sẽ tiếp tục đóng vai trò quan trọng trong ngành công nghiệp toàn cầu.
Rất mong các bạn quan tâm và theo dõi inoxmen.vn để cập nhật thông tin mới nhất về bs4504 pn16 flange dimensions!